เผย Apple เตรียมอัพเดต Magic Mouse และ Wireless Keyboard

เอกสารจาก FCC ของอเมริกา เผยว่า Apple เตรียมอัพเดตผลิตภัณฑ์ 2 ชิ้น คือ Magic Mouse และ Wireless Keyboard โดยจากเอกสารยังไม่เห็นการเปลี่ยนแปลงด้านดีไซน์อย่างเห็นได้ชัด ฉะนั้นคาดว่ารอบนี้น่าจะอัพเดตสเปค


Apple กำลังเจรจาขอพื้นที่ทดสอบรถยนต์ของตัวเองใน Bay Area

Apple กำลังเดินหน้าพัฒนารถยนต์ของตัวเองต่อไป จากรายงานล่าสุดกล่าวว่า Apple กำลังขอใช้งานสถานที่จาก GoMentum Station ใน Bay Area เพื่อทดสอบรถยนต์ของตัวเอง


คาด iPad Air 3 จะยังไม่มาในปีนี้ เพื่อเปิดทางให้ iPad Pro

ตอนนี้แม้จะมีข่าว iPad Pro รวมถึง iPad mini ว่าจะเปิดตัวในปีนี้ แต่ iPad Air หน้าจอ 9.7 นิ้วซึ่งเป็นไลน์สำคัญของ Apple อาจจะยังไม่เปิดตัวภายในปีนี้ และจะไปเปิดตัวในปี 2016 แทน


ฟีเจอร์ใหม่ iCloud.com ผู้ใช้สามารถเรียกคืนไฟล์, รายชื่อ, ปฏิทินที่เพิ่งลบไปได้

  Apple ได้เพิ่มฟีเจอร์บน iCloud.com อย่างเงียบๆ โดยรอบนี้เป็นฟีเจอร์เรียกคืนสิ่งที่ถูกลบไปได้ ไม่ว่าจะเป็นไฟล์บน iCloud Drive, รายชื่อ หรือปฏิทิน


[ลือ] บริการสตรีมรายการสดทีวีของ Apple จะยังไม่มาจนกว่าปี 2016

สำนักข่าวต่างประเทศรายงานว่า Apple จะยังไม่เปิดตัวระบบสตรีมทีวีสดผ่านอินเทอร์เน็ตสำหรับ Apple TV จะยังไม่มาจนกว่าจะถึงปี 2016


Apple เพิ่มระบบติดตามเที่ยวบินใน iOS 9 และ OS X El Capitan

มีผู้ค้นพบว่า Apple ได้เพิ่มระบบติดตามเที่ยวบินใน iOS 9 และ OS X El Capitan อย่างเงียบๆ ระบบติดตามข้อมูลเที่ยวบินนี้สามารถใช้งานได้ผ่านแอพหลายแอพ เช่น Mail, Messages และ Notes


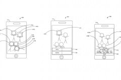
Apple จดสิทธิบัตรใหม่ แชร์ภาพด้วยการระบุหน้าตา

Apple จดสิทธิบัตรฉบับใหม่เรื่องการแชร์รูปภาพโดยใช้เทคนิคการระบุหน้าตา และส่งรูปไปหาผู้ที่อยู่ในรูปผ่านข้อมูลที่ดึงมาจากแอพอย่าง Contacts


1 117 118 119 120 121 184