Apple จดสิทธิบัตรใหม่ แชร์ภาพด้วยการระบุหน้าตา

Apple จดสิทธิบัตรฉบับใหม่เรื่องการแชร์รูปภาพโดยใช้เทคนิคการระบุหน้าตา และส่งรูปไปหาผู้ที่อยู่ในรูปผ่านข้อมูลที่ดึงมาจากแอพอย่าง Contacts
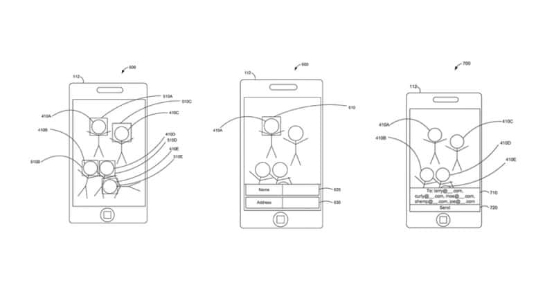
สิทธิบัตรนี้มีชื่อว่า System and methods for sending digital images โดยเน้นการใช้อัลกอริทึมการระบุหน้าตาของผู้ที่อยู่ในภาพ และเลือกช่องทางส่งภาพ เช่น อีเมล, SMS, ฯลฯ ซึ่งข้อมูลเหล่านี้จะดึงมาจาก Contacts หรือผู้ใช้จะกำหนดข้อมูลช่องทางการส่งภาพให้หน้าแต่ละคนเองก็ได้
ปัจจุบันเทคโนโลยีการระบุหน้าตานี้ Apple ใช้มาตั้งแต่ iPhoto จนถึง Photos บน Mac ก็ยังใช้อยู่ในชื่อ Faces โดยจะระบุหน้าตาของแต่ละคนแล้วเก็บไว้ในอัลบั้มหน้าของแต่ละคน สิทธิบัตรนี้น่าจะเป็นการเติมเต็มความสามารถ Faces โดยการใช้ที่อยู่ติดต่อให้เป็นประโยชน์เพื่อจะได้แชร์ภาพกันได้ง่ายและเร็วขึ้น
ที่มา – Apple Insider, USPTO