Apple จดสิทธิบัตร เซ็นเซอร์ตรวจจับควัน สำหรับ iPhone และอุปกรณ์อื่น ๆ

ล่าสุดแอปเปิลได้จดสิทธิบัตร เซ็นเซอร์อัจฉริยะที่สามารถตรวจจับควัน และแจ้งเตือนผู้ใช้ จากควันไฟในอาคาร หรือเหตุร้ายต่าง ๆ

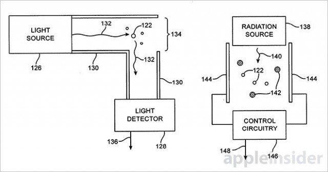
สิทธิบัตรนี้ อาจจะคล้าย ๆ กับผลิตภัณฑ์ Internet of Things ต่าง ๆ ของ Nest ที่เคยทำเครื่องตรวจจับควัน ซึ่งสามารถเชื่อมต่อกับสมาร์ทโฟนได้ แต่สิทธิบัตรนี้แอปเปิลจะนำเซ็นเซอร์ตรวจจับควันมาใส่ไว้ใน iPhone, iPad, Apple Watch หรืออุปกรณ์อื่น ๆ เลย

ซึ่งหลักการทำงานก็คือเมื่อเซ็นเซอร์ในตัวเครื่องตรวจจับควันในอากาศได้ ตัวเครื่องก็จะแปลงผลและทำการแจ้งเตือนให้หนีออกจากตรงนั้น หรือแม้กระทั่งนำข้อมูลอุณภูมิ การเคลื่อนไหวจากไอโฟน หรือตำแหน่งที่เกิดเหตุไฟไหม้ เพื่อเรียกรถดับเพลิงแบบอัตโนมัติเลยก็เป็นได้
ที่มา – Apple Insider